blog

お引渡し間近の『FPの家 Y邸』の工事写真をご覧ください。
昨日、測定バッジを1階リビングに設置してきました。
シックハウス・シックスクール・シックビル等における症候群、化学物質過敏症などに注目が集まって久しいですね。
シックハウス症候群とは、建材から放出される化学物質によって室内空気が汚染され、それを許容量以上に吸い込むことで引き起こされる病気です。
特に新築直後または改築直後の家に入居した人が発症することが多く、原因が建材と知らずにその家に住み続けると、さらに化学物質過敏症に進行するおそれもあるとされています。
でも最近はあまり耳にしなくなった気もします。
換気装置の設置義務化やホルムアルデヒド対策が功を奏して被害が減ったから?
いえいえ、そんな事はないようです。
(公益財団法人 住宅紛争処理支援センターのデータを元にIG Styke Houseで作成)
確かに、こうした施策の実施により確かに被害は減っています。
でも、ここに来て上グラフのように被害が少しずつ増加傾向にあるんです。
その原因は不明です。
おそらく対策が徹底されていないのか、対策自体が不完全なんでしょうね。
もしかしたら住宅の気密化が促進されたのに、居住者が換気の重要性を理解せず換気装置を止めていたりして・・・。
ちなみに一部の自治体では新築・改築された学校や住宅に対して、ホルムアルデヒドやVOCの測定が義務付けられています。
こうした測定が一般化すれば、もっと被害が減ると思うんですよね・・・。
では、何故一般化しないのか?
恐らく、ホルムアルデヒド・VOC測定は面倒でお金がかかるものだと考えている人が多いんだと思います。
だって私の周りでは、ホルムアルデヒド・VOC測定を行っている人なんてあまりいませんから・・・。
でも実は簡単かつ安価に測定は可能です。
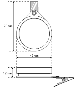
㈱オーピスの測定バッジは、測定したい建物や部屋に24時間静置しておくだけで揮発性有機化合物の放散濃度を測定する事が可能です。
測定したバッジを分析センターに送付すれば、分析結果が報告書という形で手元に届きます。
しかも、バッジ価格(分析料込)は5,610円/個(税込)というお手頃価格です。
ここに、いくらかの測定手間が加算される事はあると思いますが、それでも高価とは思えません。
ちなみに測定バッジF&測定バッジV5の2個を使用した場合は、次の6物質の気中放散量を確認する事が出来ます。
ホルムアルデヒド
トルエン
キシレン
スチレン
エチルベンゼン
パラジクロロベンゼン
また、別のバッジを使えば他の物質の測定も可能です。
バッジの構造、知りたくないですか?
私は知りたくて仕方ありません。
届くたびにバラしたくなりますが、解体すると分析不能になってしまうので諦めています。
販売元のページには、こんな説明がありました。
以下、抜粋となります。
このバッジは、空気中のホルムアルデヒド・トルエン等の濃度を高精度で測定できます。
1分間あたり一定割合でむらなくホルムアルデヒド・トルエン等を収集するために、テフロン製の多孔性の薄膜を使用しています。
薄膜の微孔は直径約10ミクロンで、ホルムアルデヒド・トルエン等の収集率を適切に制御しています。
ホルムアルデヒド・トルエン等は不安定な物質ですが、バッジ内の固形吸収体の粒によって、安定的で高感度の誘導体化学物質に化学変化させ、分析します。
バッジ内の固形吸収体には測定バッジFはDNPHが浸透したシリカゲル、測定バッジV4・V5は活性炭素粒をそれぞれ使用しています。
また株式会社MCエバテック(旧 株式会社三菱化学アナリテック)内 一般財団法人ベターリビング分室では、郵送されたバッジを分析し、その結果を測定時間の平均濃度(ppm)として求めます。
測定バッジFはジニトロフェニルヒドラジン(DNPH)誘導体化による固相吸着-溶媒抽出法及び高速液体クロマトグラフ(HPLC)で行っています。
測定バッジV4・V5は固相吸着-溶媒抽出法及びガスクロマトグラフ法で行っています。
バッジ内の安定的な誘導体化学物質を溶媒で溶出して分析するため、対象物質以外の化学物質による妨害などの影響がありません。
このバッジを開発したアドバンスト・ケミカル・センサー社(米国)は、マサチューセッツ工科大より博士号を授与されたローレンス・D・ロッカー博士により設立され、米国で1977年より30年以上バッジを製造しています。
ロッカー博士は1982年に本バッジの米国特許を取得しています。
また日本国内においても2002年3月に特許を取得いたしました。
このバッジは、有害化学物質の室内濃度や職場での被爆量の測定のため、幅広く利用されています。
また、何千ものヘルスケア施設、政府機関やいくつかの米国最大級の企業に使用されています。
OSHA(米国連邦労働安全衛生局)・NIOSH(米国労働安全衛生研究所)・HCFA(米国保健・福祉省保健医療資金総局)・米国連邦裁判所が認定済みです。
日本国内においては、国土交通省・文部科学省に採用されています。
国土交通省の「室内空気環境に関する実態調査」に、平成12年より5年連続で採用されている等、多くの機関に認められた測定バッジですから、安心してご利用ください。
安価で簡単測定!
しかも安心で確実!
利用しない手はないでしょ?
シックハウスについて不安に感じている方もいると思います。
「引渡し前に室内空気環境測定を実施してください。」
工務店にお願いしてみては、いかがでしょうか?

posted by AssetRed
住所:東京都練馬区北町2-13-11
電話:03-3550-1311
東武東上線 東武練馬駅下車5分
ただいま、現場監督見習いを募集しています。
https://www.assetfor.co.jp/recruit/
上記をご確認ください。